lemon-mirror:
Home >> Kia >> 2005 >> Rio Base, Automatic >> Repair and Diagnosis >> Electrical >> Charging Systems >> Overhaul >> Generator Disassembly >> Notes

Generator Disassembly: Notes

NOTE: Insert protective material in the jaws of the vise.
NOTE: If bearing box is not heated, bearing cannot be pulled out of rear housing. The rear bearing and rear housing fit together very tightly.
NOTE: Disconnect quickly. If soldering iron is used for more than 5 seconds, rectifier may be damaged by heat.
  1. Remove four cap screws from rear housing. See Fig 1 .
    Fig 1: Removal of Screws from Rear Housing
    G00312735Courtesy of KIA MOTORS AMERICA, INC.
  2. Use a 200-watt soldering iron to heat the rear of bearing box to allow the bearing to be removed from rear housing. See Fig 2 .
    Fig 2: Bearing Removal from Rear Housing
    G00312739Courtesy of KIA MOTORS AMERICA, INC.
  3. Use a flat-blade screwdriver to separate front housing from stator. See Fig 3 .
    Fig 3: Remove Front Housing from Stator
    G00312743Courtesy of KIA MOTORS AMERICA, INC.
  4. Place rotor in a vise and loosen locknut, then disassemble pulley, rotor, and front housing. See Fig 4 .
    Fig 4: Disassemble Pulley, Rotor, & Front Housing
    G00312668Courtesy of KIA MOTORS AMERICA, INC.
    Fig 5: Generator Trouble Shooting
    G00312719Courtesy of KIA MOTORS AMERICA, INC.
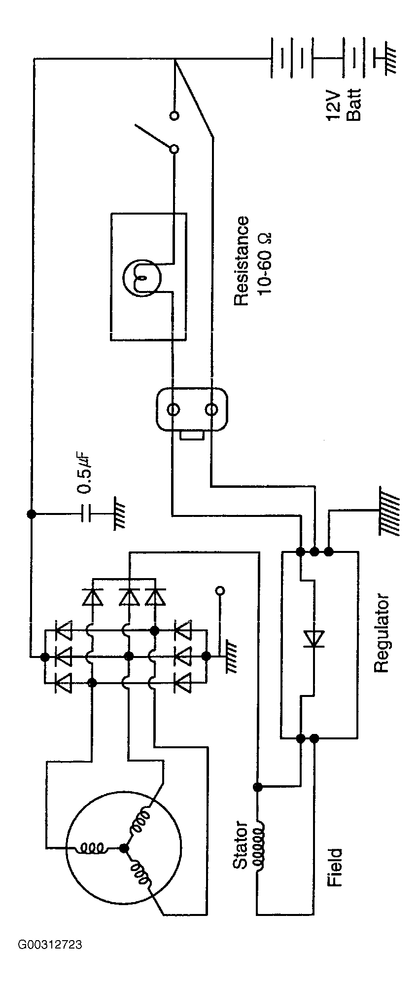
    Fig 6: Generator Circuit Diagram
    G00312723Courtesy of KIA MOTORS AMERICA, INC.
  5. If necessary, remove front bearing using a socket and a hand press or vise. See Fig 7 .
    Fig 7: Removing Front Bearing With A Socket
    G00312672Courtesy of KIA MOTORS AMERICA, INC.
  6. Remove rear bearing with a bearing puller. See Fig 8 .
    Fig 8: Removing Rear Bearing With A Puller
    G00312676Courtesy of KIA MOTORS AMERICA, INC.
  7. Remove "B" terminal nut and insulating bushing.
  8. Remove five screws holding the rectifier and brush holder. See Fig 9 .
    Fig 9: Removing 5 Screws From Rectifier
    G00312688Courtesy of KIA MOTORS AMERICA, INC.
  9. Separate rear bracket and stator. See Fig 10 .
    Fig 10: Separating Rear Bracket & Stator
    G00312684Courtesy of KIA MOTORS AMERICA, INC.
  10. Use a soldering iron to remove solder from rectifier and stator leads, and then remove IC regulator. See Fig 11 .
    Fig 11: Using Soldering Iron To Remove Solder From Rectifier
    G00312680Courtesy of KIA MOTORS AMERICA, INC.
  11. Replace brushes. Remove solder from pigtail, and then remove brush. See Fig 12 .
    Fig 12: Removing Solder From Pigtail
    G00312692Courtesy of KIA MOTORS AMERICA, INC.