lemon-mirror:
Home >> Kia >> 2005 >> Sedona EX >> Repair and Diagnosis >> Engine Performance >> System >> Engine Control System >> Troubleshooting >> Fuel Injector >> Fuel Injector Circuit

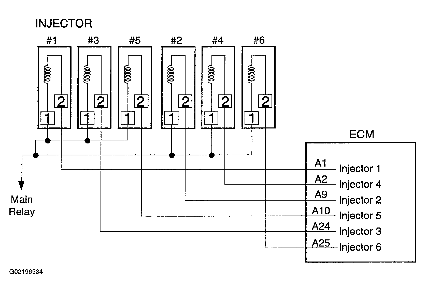
Fuel Injector Circuit

Fig 1: Illustrating Fuel Injector Circuit
G02196534Courtesy of KIA MOTORS AMERICA, INC.