lemon-mirror:
Home >> Kia >> 2005 >> Sedona EX >> Repair and Diagnosis >> Engine Performance >> System >> Engine Control System >> Troubleshooting >> Throttle Position Sensor (TPS) >> Description

Throttle Position Sensor (TPS): Description

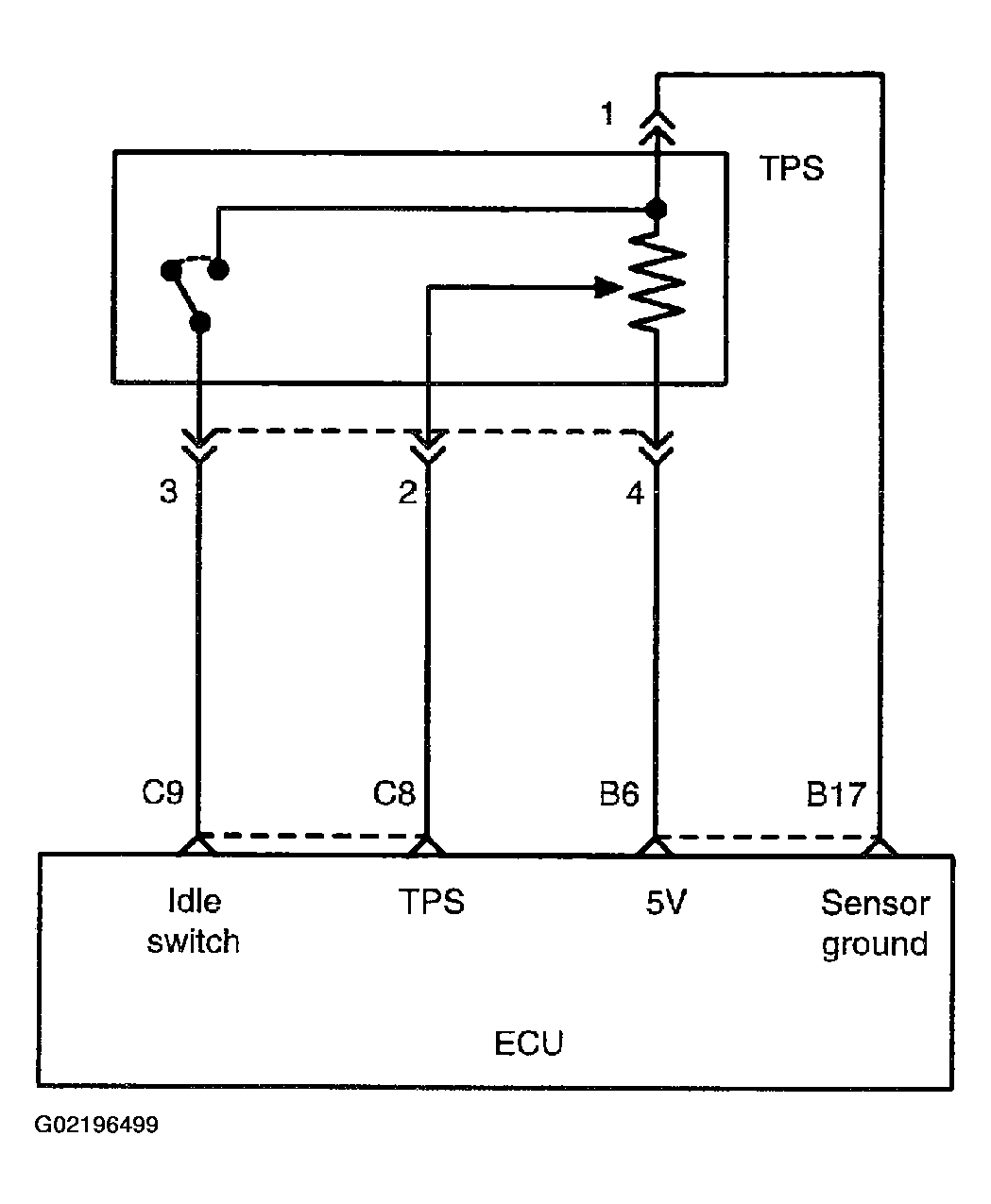
The TP sensor is a variable resistor type that rotates with the throttle body throttle shift to sense the throttle valve angle. As the throttle shaft rotates, the output voltage of the TP sensor changes. The ECM detects the throttle valve opening based on voltage change.

Fig 1: Locating TPS
G02196498Courtesy of KIA MOTORS AMERICA, INC.
Fig 2: Illustrating TPS Circuit
G02196499Courtesy of KIA MOTORS AMERICA, INC.