lemon-mirror:
Home >> Kia >> 2005 >> Sorento EX, RWD >> Repair and Diagnosis >> Restraints >> Restraints Control Systems >> SRSCM (Supplemental Restraints System Control Module) >> SRSCM (SRS Control Module) >> Removal

SRSCM (SRS Control Module): Removal

  1. Disconnect the negative (-) cable from battery and wait for at least three minutes.
    Fig 1: Disconnecting Negative Cable From Battery
    G03877712Courtesy of KIA MOTORS AMERICA, INC.
  2. Remove ignition key from the vehicle.
  3. Disconnect the DAB, PAB, CAB and BPT connectors.
  4. Remove the center console .
  5. Disconnect the SRSCM harness connector (A) from the SRSCM (B).
    Fig 2: Disconnecting SRSCM Harness Connector
    G03877713Courtesy of KIA MOTORS AMERICA, INC.
  6. Remove the four console bracket mounting bolts and nuts.
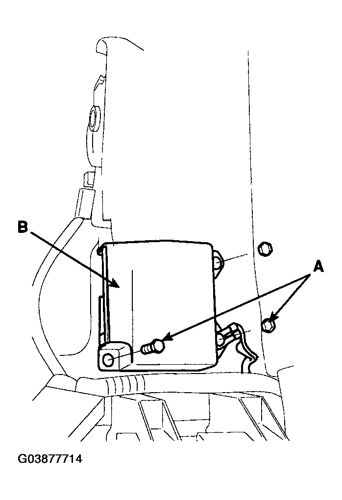
  7. Remove the SRSCM mounting bolt and nuts(A) from the SRSCM and pull out the SRSCM(B) from the bracket.
    Fig 3: Removing Bolt
    G03877714Courtesy of KIA MOTORS AMERICA, INC.