lemon-mirror:
Home >> Kia >> 2005 >> Spectra5 2.0 1, Automatic >> Repair and Diagnosis >> Engine Performance >> Engine Control Systems >> Engine Control System/Fuel System - 2.0L >> General >> Basic Inspection Procedure >> Electrical Circuit Inspection Procedure >> Check Short Circuit

Check Short Circuit

  1. Test Method for Short to Ground Circuit
    1. Continuity Check with Chassis Ground

      If short to ground circuit occurs as shown in illustration below, the broken point can be found by performing Continuity Check Method with Chassis Ground as shown below.

      Fig 1: Illustrating Grounded Circuit
      G00719272Courtesy of KIA MOTORS AMERICA, INC.
  2. Continuity Check Method (with Chassis Ground)
    NOTE: Lightly shake the wire harness above and below, or from side to side when measuring the resistance.
    1. Specification (Resistance)
    2. 1 Ω--> or less --> Short to Ground Circuit
    3. 1 MΩ or Higher --> Normal Circuit
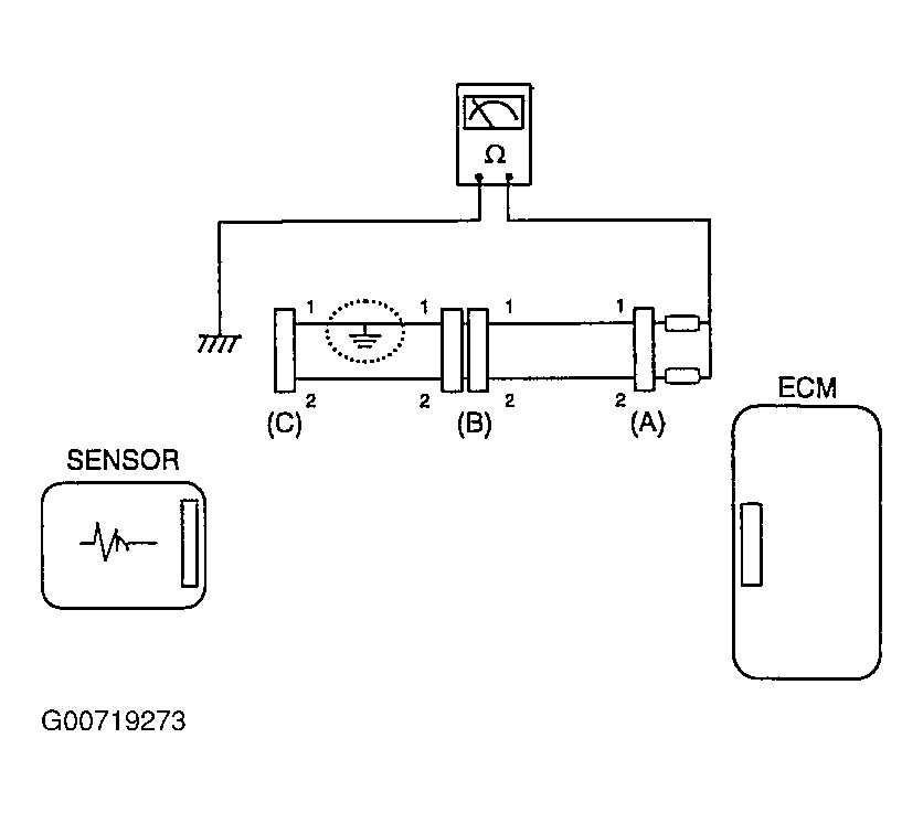
    1. Disconnect connectors (A) and (C) and measure for resistance between connector (A) and Chassis Ground as shown in illustration below.

      The measured resistance of line 1 is below 1 Ω and line 2 is higher than 1 MΩ. Specifically the short to ground circuit is line 1 (Line 2 is normal). To find exact ground point, check the sub line of line 1 as described in the following step.

      Fig 2: Measuring Circuit Resistance
      G00719273Courtesy of KIA MOTORS AMERICA, INC.
    2. Disconnect connector (B), and measure the resistance between connector (A) line 1 and chassis ground, and between connector (B1) line 1 and chassis ground as shown in illustration below.

      The measured resistance between connector (B1) and chassis ground is 1Ω or less. The short to ground circuit is between terminal 1 of connector (C) and terminal 1 of connector (B1).

      Fig 3: Illustrating Grounded Circuit
      G00719274Courtesy of KIA MOTORS AMERICA, INC.