lemon-mirror:
Home >> Kia >> 2006 >> Sorento EX, RWD >> Repair and Diagnosis >> Engine Performance >> Fuel Delivery >> Fuel System >> MFI Control System >> Pump Relay >> Continuity Inspection

Continuity Inspection

Check continuity between relay terminals.

Fig 1: Identifying Pump Relay Continuity Check Table
G00340468Courtesy of KIA MOTORS AMERICA, INC.
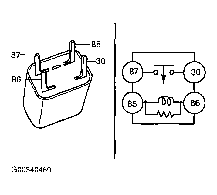
Fig 2: Identifying Pump Relay Terminals
G00340469Courtesy of KIA MOTORS AMERICA, INC.