lemon-mirror:
Home >> Kia >> 2007 >> Rondo Base >> Repair and Diagnosis >> Electrical >> Body Electrical >> Body Electrical System >> Audio System >> Audio Remote Control >> Circuit Diagram

Circuit Diagram

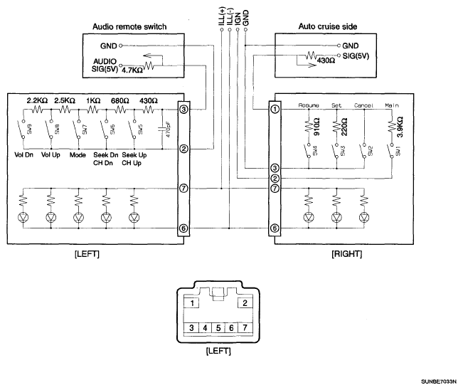
Fig 1: Audio Remote Control Circuit Diagram
G05187680Courtesy of KIA MOTORS AMERICA, INC.