lemon-mirror:
Home >> Kia >> 2007 >> Sorento Base, A5SR2 >> Repair and Diagnosis >> Engine Performance >> Engine Control Systems >> Gasoline Engine Control System >> Injector >> Inspection >> Schematic Diagram

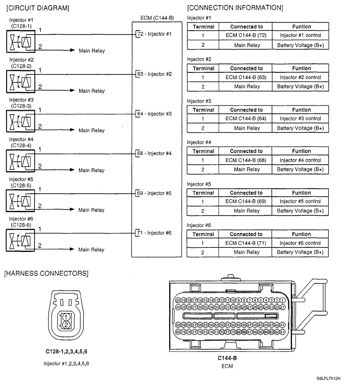
Schematic Diagram

Fig 1: Connector Circuit Diagram
G05118337Courtesy of KIA MOTORS AMERICA, INC.