lemon-mirror:
Home >> Kia >> 2007 >> Spectra5 2.0 2, Automatic >> Repair and Diagnosis >> Engine Performance >> Engine Control Systems >> Gasoline Engine Control System >> Injector >> Inspection >> Circuit Diagram

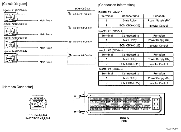
Circuit Diagram

Fig 1: Injector - Circuit Diagram
G05115392Courtesy of KIA MOTORS AMERICA, INC.