lemon-mirror:
Home >> Kia >> 2008 >> Rio Base, Automatic >> Repair and Diagnosis >> Engine Mechanical >> Starter >> Starting System >> Starter >> Disassembly

Starting System: Starter: Disassembly

  1. Disconnect the M-terminal (A) on the magnet switch assembly (B).
    Fig 1: Identifying M-Terminal And Magnet Switch Assembly
    G04861963Courtesy of KIA MOTORS AMERICA, INC.
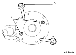
  2. After loosening the 2 screws (A), detach the magnet switch assembly (B).
    Fig 2: Identifying Magnet Switch Assembly And Screws
    G04861964Courtesy of KIA MOTORS AMERICA, INC.
  3. Loosen the brush holder mounting screw (A) and through bolts (B).
    Fig 3: Identifying Brush Holder Mounting Screw And Through Bolts
    G04861965Courtesy of KIA MOTORS AMERICA, INC.
  4. Remove the rear bracket (A) and brush holder assembly (B).
    Fig 4: Identifying Rear Bracket And Brush Holder Assembly
    G04861966Courtesy of KIA MOTORS AMERICA, INC.
  5. Remove the yoke (A) and armature (B).
    Fig 5: Identifying Yoke And Armature
    G04861967Courtesy of KIA MOTORS AMERICA, INC.
  6. Remove the, lever plate (A) and packing (B).
    Fig 6: Identifying Lever Plate And Packing
    G04861968Courtesy of KIA MOTORS AMERICA, INC.
  7. Remove the overrunning clutch and lever
    Fig 7: Identifying Overrunning Clutch And Lever
    G04861969Courtesy of KIA MOTORS AMERICA, INC.
  8. Press the stop ring (A) using a socket (B).
    Fig 8: Identifying Stop Ring And Socket
    G04804032Courtesy of KIA MOTORS AMERICA, INC.
  9. After removing the stopper (A) using stopper pliers (B).
    Fig 9: Identifying Stopper And Stopper Pliers
    G04804033Courtesy of KIA MOTORS AMERICA, INC.
  10. Remove the stopper (A), stop ring (B), overrunning clutch (C) and armature (D).
    Fig 10: Identifying Stopper, Stop Ring, Overrunning Clutch And Armature
    G04861972Courtesy of KIA MOTORS AMERICA, INC.
  11. Reassembly is the reverse of disassembly.
    NOTE: Using a suitable pulling tool (A), pull the overrunning clutch stop ring (B) over the stopper (C).
    Fig 11: Identifying Pulling Tool, Overrunning Clutch Stop Ring And Stopper
    G04804035Courtesy of KIA MOTORS AMERICA, INC.