lemon-mirror:
Home >> Kia >> 2009 >> Rio Base, Automatic >> Repair and Diagnosis >> Transmission >> Automatic Trans >> Automatic Transaxle System >> Hydraulic Control System >> Fail Safe Function

Fail Safe Function

  1. TCM malfunction in 1st or 2nd gear.

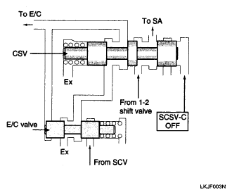
    CUTTING OFF THE E/C PRESSURE BY E/C VALVE

    SPEED REFERENCE CHART

    Speed F/C R/C E/C K/D
    1st      
    2nd    
    Fail    
    • F/C, SR: from 2-3/4-3 shift valve
    • R/C: from PCV-B
    • SA: from 1-2 shift valve
      Fig 1: Gear Shift Operation Diagram - TCM Malfunction In 1st Or 2nd Gear
      G04862517Courtesy of KIA MOTORS AMERICA, INC.
  2. TCM malfunction in 1st or 2nd gear.

    If the hydraulic pressure is supplied to E/C and the F/C, SR pressure is delayed.

    SPEED REFERENCE CHART

    Speed F/C R/C E/C K/D
    1st      
    2nd    
    Fail    
    • R/C, E/C, S/A: interlock
      Fig 2: Gear Shift Operation Diagram - TCM Malfunction In 1st Or 2nd Gear
      G04862517Courtesy of KIA MOTORS AMERICA, INC.
    NOTE:
    • SA: Servo Apply pressure
    • F/C: Front Clutch pressure
    • R/C: Rear Clutch pressure
    • K/D: Kick Down
    • SCV: Shift Control Valve
    • CSV: Control Switch Valve
    • PCSV: Pressure Control Solenoid Valve
    • SCSV: Shift Control Solenoid Valve
    • PCV: Pressure Control Valve
    • RCEV: Rear Clutch Exhaust Valve