lemon-mirror:
Home >> Kia >> 2009 >> Sorento Base, A5SR1 >> Repair and Diagnosis >> Engine Performance >> Engine Control Systems >> Engine Control System >> Engine Control Module (ECM) >> Schematic Diagrams >> Circuit Diagram

Circuit Diagram

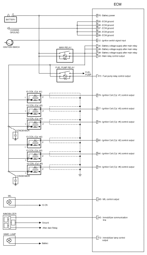
Fig 1: Engine Control System Circuit Diagram (1 Of 5)
G06408038Courtesy of KIA MOTORS AMERICA, INC.
Fig 2: Engine Control System Circuit Diagram (2 Of 5)
G06408039Courtesy of KIA MOTORS AMERICA, INC.
Fig 3: Engine Control System Circuit Diagram (3 Of 5)
G06408040Courtesy of KIA MOTORS AMERICA, INC.
Fig 4: Engine Control System Circuit Diagram (4 Of 5)
G06408041Courtesy of KIA MOTORS AMERICA, INC.
Fig 5: Engine Control System Circuit Diagram (5 Of 5)
G06408042Courtesy of KIA MOTORS AMERICA, INC.