lemon-mirror:
Home >> Kia >> 2009 >> Sorento Base, A5SR2 >> Repair and Diagnosis >> Body & Frame >> Windows >> Power Windows >> Power Window Switch >> Repair Procedures >> Inspection >> Power Window Sub Switch

Power Window Sub Switch

Fig 1: Power Window Sub Switch Chart
G06410780Courtesy of KIA MOTORS AMERICA, INC.
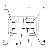
Fig 2: Identifying Power Window Sub Switch Connector Terminal
G06410781Courtesy of KIA MOTORS AMERICA, INC.


Fig 1: Power Window Sub Switch Connector Chart
G06410785Courtesy of KIA MOTORS AMERICA, INC.
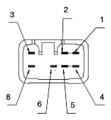
Fig 2: Identifying Power Window Sub Switch Connector Terminal
G06410786Courtesy of KIA MOTORS AMERICA, INC.