lemon-mirror:
Home >> Kia >> 2009 >> Spectra5 2.0 1, Automatic >> Repair and Diagnosis >> Body & Frame >> Ignition Switch/Steering Lock >> Ignition Switch Assembly >> Ignition Switch >> Repair Procedures >> Replacement

Repair Procedures: Replacement

  1. Remove the steering column shaft (Refer to STEERING COLUMN/SHAFT ).
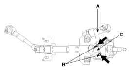
  2. If it is necessary to remove the key lock assembly (A), use a punch to make a groove on the head of the special bolt (B), and then use a screwdriver to remove the key lock assembly mounting bracket (C).
    Fig 1: Identifying Key Lock Assembly And Special Bolt
    G06401180Courtesy of KIA MOTORS AMERICA, INC.
  3. Disassembly the key lock assembly (A) from the steering column and shaft assembly (B).
    Fig 2: Identifying Steering Column And Shaft Assembly
    G06401181Courtesy of KIA MOTORS AMERICA, INC.
  4. Installation is the reverse of removal procedure.