lemon-mirror:
Home >> Kia >> 2010 >> Optima EX, 2.4 8 >> Repair and Diagnosis >> Engine Performance >> Engine Control Systems >> Engine Control System - 2.4L >> Powertrain Control Module (Pcm) >> Circuit Diagram

Circuit Diagram

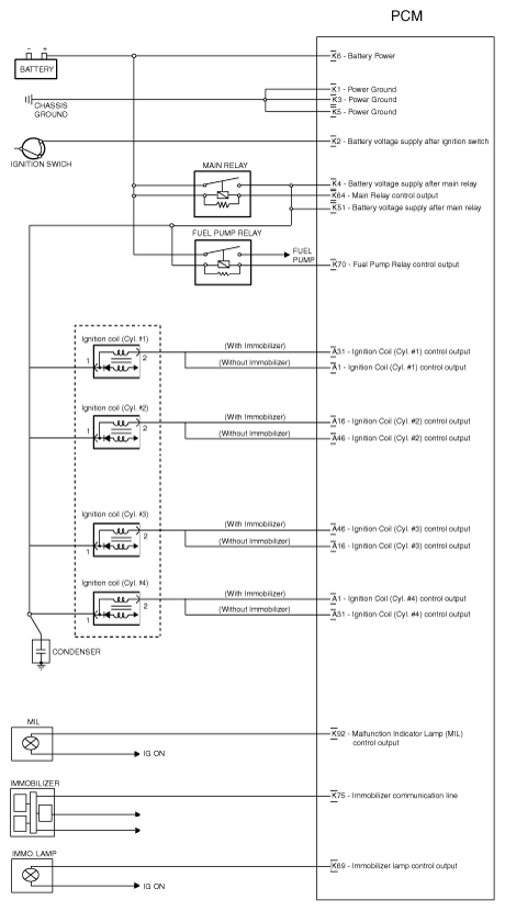
Fig 1: PCM Harness Connector Circuit Diagram (1 Of 5)
G06361915Courtesy of KIA MOTORS AMERICA, INC.
Fig 2: PCM Harness Connector Circuit Diagram (2 Of 5)
G06361916Courtesy of KIA MOTORS AMERICA, INC.
Fig 3: PCM Harness Connector Circuit Diagram (3 Of 5)
G06361917Courtesy of KIA MOTORS AMERICA, INC.
Fig 4: PCM Harness Connector Circuit Diagram (4 Of 5)
G06361918Courtesy of KIA MOTORS AMERICA, INC.
Fig 5: PCM Harness Connector Circuit Diagram (5 Of 5)
G06361919Courtesy of KIA MOTORS AMERICA, INC.