lemon-mirror:
Home >> Kia >> 2011 >> Rio Base >> Repair and Diagnosis >> Suspension >> Wheel Alignment >> Tires/Wheels/Wheel Alignment >> Tire >> Repair procedures >> Tire Rotation >> Notes

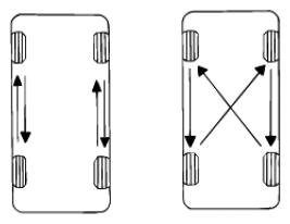
Tire Rotation: Notes

Rotate the tires in the pattern illustrated.

Fig 1: Identifying Tire Rotation
G06832012Courtesy of KIA MOTORS AMERICA, INC.