lemon-mirror:
Home >> Kia >> 2015 >> Forte EX >> Repair and Diagnosis >> Engine Performance >> Engine Control Systems >> Engine Control/Fuel System - General Information - 2.0L >> Engine Control/Fuel System >> Troubleshooting >> Basic Troubleshooting >> Electrical Circuit Inspection Procedure

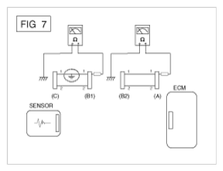
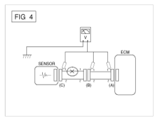
Electrical Circuit Inspection Procedure