lemon-mirror:
Home >> Kia >> 2015 >> K900 V6 >> Repair and Diagnosis >> Engine Performance >> Engine Control Systems >> Engine Control System - 3.8L >> Injector >> Schematic Diagrams >> Circuit Diagram

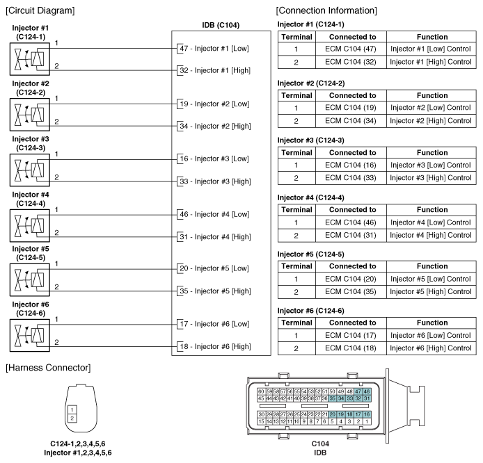
Circuit Diagram

Fig 1: Injector Circuit Diagram
G10717065Courtesy of KIA MOTORS AMERICA, INC.