lemon-mirror:
Home >> Kia >> 2015 >> Sorento EX, FWD >> Repair and Diagnosis >> Body & Frame >> Door Locks >> Power Tailgate Module >> Components And Components Location >> Block Diagram

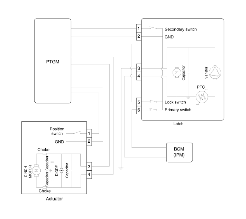
Block Diagram

Fig 1: Power Tailgate Block Diagram
G09767184Courtesy of KIA MOTORS AMERICA, INC.
Fig 2: PTG Power Switch And PTG Open Switch On Console
G09767185Courtesy of KIA MOTORS AMERICA, INC.