lemon-mirror:
Home >> Kia >> 2016 >> Cadenza Base >> Repair and Diagnosis >> Engine Performance >> Engine Control Systems >> Engine Control/Fuel System - General Information >> Troubleshooting >> Basic Troubleshooting >> Electrical Circuit Inspection Procedure

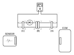
Electrical Circuit Inspection Procedure