lemon-mirror:
Home >> Kia >> 2016 >> Forte EX >> Repair and Diagnosis >> Suspension >> Wheel Alignment >> Front Suspension System & Wheel Alignment >> Front Strut Assembly >> Repair Procedures >> Disposal

Repair Procedures: Disposal

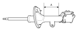
  1. Fully extend the piston rod.
  2. Drill a hole on the (A) section to remove gas from the cylinder.
    Fig 1: Check Hole Drilling Area
    G11795422Courtesy of KIA MOTORS AMERICA, INC.
    CAUTION:
    • The gas coming out is harmless but be careful of chips that may tly when drilling.