lemon-mirror:
Home >> Kia >> 2016 >> Forte LX, Automatic Trans >> Repair and Diagnosis >> Electrical >> Charging Systems >> Charging System - 1.8L >> Battery >> Components And Components Location >> Components

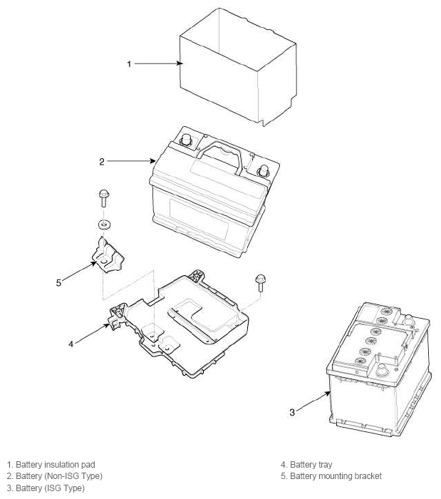
Components And Components Location: Components

Fig 1: Locate Components Of Battery
G11793452Courtesy of KIA MOTORS AMERICA, INC.