lemon-mirror:
Home >> Kia >> 2016 >> Forte LX, Standard Trans >> Repair and Diagnosis >> Transmission >> Transmission Control Systems >> Manual Transaxle Control System >> Control Cable >> Repair Procedures >> Adjustment

Repair Procedures: Adjustment

Select cable adjustment 

  1. Remove the select cable snap pin (A) and then remove the select cable (B) from the shift lever pin.
    Fig 1: Remove Select Cable From Shift Lever Pin
    G11795119Courtesy of KIA MOTORS AMERICA, INC.
  2. Shift the shift lever to 3rd gear.
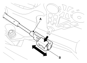
  3. Move the slide clip (B) of guide member (A) in the direction as shown in the illustration.
    Fig 2: Move Slide Clip Of Guide Member
    G11795120Courtesy of KIA MOTORS AMERICA, INC.
  4. Install the select cable (A).
    Fig 3: Select Cable Installation Position
    G11795121Courtesy of KIA MOTORS AMERICA, INC.
  5. Insert the slide clip in the direction as shown in the illustration and then install the snap pin (A).
Fig 4: Insert Select Cable Slide Clip
G11795122Courtesy of KIA MOTORS AMERICA, INC.