lemon-mirror:
Home >> Kia >> 2016 >> Sorento L >> Repair and Diagnosis >> Body & Frame >> Ignition Switch/Steering Lock >> Ignition Switch Assembly >> Repair Procedures >> Inspection

Repair Procedures: Inspection

  1. Disconnect the ignition switch connector (B) and key warning switch connector (A) from under the steering column.
    Fig 1: Disconnect Ignition Switch Connector
    G11867872Courtesy of KIA MOTORS AMERICA, INC.
    Fig 2: Remove Key Warning Switch Connector From Steering Column
    G11867873Courtesy of KIA MOTORS AMERICA, INC.
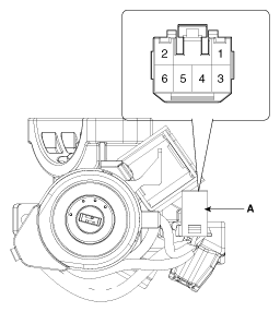
  2. Check for continuity between the terminals.
  3. If continuity is not as specified, replace the switch.
Fig 3: Check Continuity Between Ignition Switch Connector Terminals
G11867874Courtesy of KIA MOTORS AMERICA, INC.