lemon-mirror:
Home >> Kia >> 2016 >> Soul Base, Automatic Trans >> Repair and Diagnosis >> Electrical >> Charging Systems >> Charging System - 1.6L >> Battery >> Components And Components Location >> Components

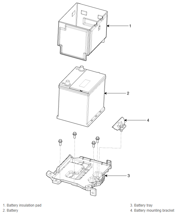
Components And Components Location: Components

G11949922Courtesy of