lemon-mirror:
Home >> Kia >> 2016 >> Soul Base, Standard Trans >> Repair and Diagnosis >> Transmission >> Transmission Control Systems >> Manual Transaxle Control System - 1.6L >> Control Cable >> Repair Procedures >> Installation

Repair Procedures: Installation

NOTE: When installing, set room side shift lever and T/M side lever to "4th" gear position.
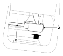
  1. Tighten the nut (B) after install the retainer (A).

    Tightening torque: 

    11.8 ~ 14.7 N.m (1.2 ~ 1.5 kgf.m, 8.7 ~ 10.8 lb-ft)

    G11950311Courtesy of
  2. Check the Shift lever is in "4th" gear position.
  3. Install the cable socket (A) on the shift lever assembly.
    G11950312Courtesy of
  4. Install the shift cable (B) after installing the clip (A).
    G11950313Courtesy of
  5. Install the select cable socket (C) on the shift lever assembly.
  6. Install the clip (A) after installing the select cable (B).
    G11950314Courtesy of
  7. Install the bracket (A).
    G11950315Courtesy of
  8. Install the rear heating joint duct (A).
  9. Install the floor console assembly.

    (Refer to "FLOOR CONSOLE .")

  10. Rotating clockwise shift lever knob (A).
    G11950316Courtesy of
  11. Install the control cable (B) and clip (A) on the bracket.
    NOTE: Do not reuse the clip (A).
    G11950317Courtesy of
  12. Install the control cable
    1. Install the control cable (A) in transaxle lever pin.
      G11950318Courtesy of
    2. Ensure to press adjust locking button in direction of "C".
      G11950319Courtesy of
    3. Install the washer (A) and pin (B).
      G11950320Courtesy of
  13. Install the battery and battery tray.

    (Refer to "BATTERY .")

  14. Install the air cleaner assembly.

    (Refer to "AIR CLEANER .")