lemon-mirror:
Home >> Kia >> 2016 >> Soul Base, Standard Trans >> Repair and Diagnosis >> Transmission >> Transmission Control Systems >> Manual Transaxle Control System - 1.6L >> Control Cable >> Repair Procedures >> Removal

Repair Procedures: Removal

  1. Shift lever to "4th" gear position.
  2. Rotating counter-clockwise shift lever knob (A).
    G11950303Courtesy of
  3. Remove the floor console assembly.

    (Refer to "FLOOR CONSOLE .")

  4. Remove the rear heating joint duct (A).
    G11950304Courtesy of
  5. Remove the bracket (A).
    G11950305Courtesy of
  6. Remove the select cable (B) after removing the snap pin (A).
  7. Remove the cable socket (C) from lever assembly after pulling in the direction of the arrow.
    G11950306Courtesy of
  8. Remove the shift cable (B) after removing the clip (A).
    G11950307Courtesy of
  9. Remove the cable socket (A) from lever assembly after pulling in the direction of the arrow.
    G11950308Courtesy of
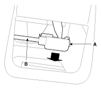
  10. Remove the retainer (A) after loosen the nut (B).
    G11950309Courtesy of
  11. Remove the air cleaner assembly.

    (Refer to "AIR CLEANER .")

  12. Remove the battery and battery tray.

    (Refer to "BATTERY .")

  13. Remove the shift & select cable.
    1. Remove the pin (A) and washer (B).
    2. Make unlock clip (C) and then remove the shift & select cable and the clip (C) from the bracket.
    G11950310Courtesy of