lemon-mirror:
Home >> Kia >> 2017 >> Forte EX >> Repair and Diagnosis >> Suspension >> Wheel Alignment >> Front Suspension System & Front Alignment >> Front Strut Assembly >> Repair Procedures >> Inspection >> Disposal

Repair Procedures: Inspection: Disposal

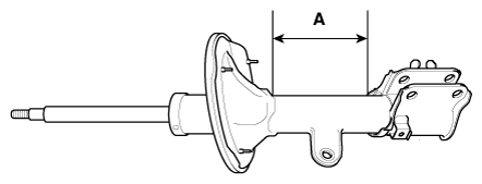
  1. Fully extend the piston rod.
  2. Drill a hole on the (A) section to remove gas from the cylinder.
    Fig 1: Checking Hole Drilling Area
    G12163721Courtesy of KIA MOTORS AMERICA, INC.
    CAUTION:
    • The gas coming out is harmless but be careful of chips that may fly when drilling.