lemon-mirror:
Home >> Kia >> 2017 >> Niro EX >> Repair and Diagnosis >> Transmission >> Transmission Control Systems >> Dual Clutch Transmission Control System >> Description And Operation >> Operating Principle >> Control System Logic

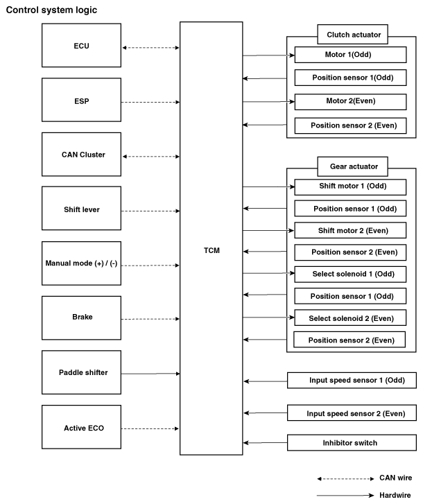
Control System Logic

Fig 1: TCM Communication Diagram
G12329120Courtesy of KIA MOTORS AMERICA, INC.