lemon-mirror:
Home >> Kia >> 2017 >> Rio SX >> Repair and Diagnosis >> Engine Performance >> Engine Control Systems >> Idle Stop And Go (ISG) System >> Brake Switch >> Repair Procedures >> Inspection

Repair Procedures: Inspection

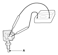
  1. Connect a circuit tester to the connector of stop lamp switch, and check whether or not there is continuity when the plunger of the stop lamp switch is pushed in and when it is released.
  2. The stop lamp switch is in good condition if there is no continuity when plunger (A) is pushed.
Fig 1: Connecting Circuit Tester To Connector Of Stop Lamp Switch
G11845293Courtesy of KIA MOTORS AMERICA, INC.