lemon-mirror:
Home >> Kia >> 2017 >> Sedona EX >> Repair and Diagnosis >> Suspension >> Wheel Alignment >> Front Suspension System And Front Alignment >> Front Strut Assembly >> Repair Procedures >> Disassembly

Repair Procedures: Disassembly

  1. Remove the dust cover (A).
    Fig 1: Locating Dust Cover
    G12264515Courtesy of KIA MOTORS AMERICA, INC.
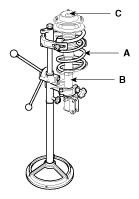
  2. Using a strut spring compressor, compress the coil spring (A).
    NOTE:
    • To prevent peeling the paint of coil spring, cover the coil spring with a thin cloth or hose before installing strut spring compressor
    • Set the compression position of strut spring compressor correctly for coil spring not to slant when compressing the coil spring.
  3. Remove the self-locking nut (C) from the strut assembly (B).
    Fig 2: Compress Coil Spring
    G12264516Courtesy of KIA MOTORS AMERICA, INC.
  4. Remove the insulator, spring seat, coil spring and dust cover from the strut assembly.