lemon-mirror:
Home >> Kia >> 2017 >> Sedona EX >> Repair and Diagnosis >> Suspension >> Wheel Alignment >> Front Suspension System And Front Alignment >> Front Strut Assembly >> Repair Procedures >> Inspection >> Disposal

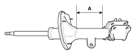
Repair Procedures: Inspection: Disposal

  1. Fully extend the piston rod.
  2. Drill a hole on the A section to remove gas from the cylinder.
Fig 1: Drill Hole On Section
G12264518Courtesy of KIA MOTORS AMERICA, INC.
CAUTION: While the released gas is harmless, be careful as chips may stir up from drilling. Be sure to wear safety goggles or eye protection when performing this task.