lemon-mirror:
Home >> Kia >> 2017 >> Sedona EX >> Repair and Diagnosis >> Suspension >> Wheel Alignment >> Front Suspension System And Front Alignment >> Front Strut Assembly >> Repair Procedures >> Removal

Repair Procedures: Removal

  1. Remove the front wheel and tire (A) from front hub.

    Tightening torque: 

    88.2 ~ 107.8 N.m (9.0 ~ 11.0 kgf.m, 65.0 ~ 79.5 lb-ft)

    CAUTION: Be careful not to damage the hub bolts when removing the front wheel and tire (A).
    Fig 1: Remove Front Wheel & Tire
    G12264510Courtesy of KIA MOTORS AMERICA, INC.
  2. Disconnect the stabilizer link (B) with the front strut assembly (A) after loosening the nut.

    Tightening torque: 

    (A) 6.9 ~ 98.0N.m (0.7 ~ 1.1 kgf.m, 5.1 ~ 8.0 lb-ft)

    (B) 16.7 ~ 22.6 N.m (1.7 ~ 2.3 kgf.m, 12.3 ~ 16.6)

    Fig 2: Locating Stabilizer Link With Front Strut Assembly
    G12264511Courtesy of KIA MOTORS AMERICA, INC.
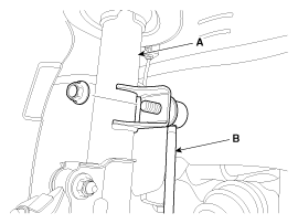
  3. Disconnect the front strut assembly (A) from the knuckle by loosening the bolt and nut.

    Tightening torque: 

    98.1 ~ 117.7N.m (10.0 ~ 12.0kgf.m, 72.3 ~ 86.8lb-ft)

    Fig 3: Disconnecting Front Strut Assembly From Knuckle
    G12264512Courtesy of KIA MOTORS AMERICA, INC.
  4. Disconnect the front strut assembly (A) with the knuckle by loosening the bolt & nut.

    Tightening torque: 

    196.1 ~ 215.7 N.m (20.0 ~ 22.0kgf.m, 144.7 ~ 159.1 lb-ft)

    Fig 4: Locating Front Strut Assembly With Knuckle, Bolts & Nuts
    G12264513Courtesy of KIA MOTORS AMERICA, INC.
  5. Remove the cowl top cover.

    (Refer to Body (Interior and Exterior) - "COWL TOP COVER ")

  6. Loosening the nut (A) and then remove the strut assembly.

    Tightening torque: 

    53.9 ~ 73.5 N.m (5.5 ~ 7.5 kgf.m, 39.8 ~ 54.2 Ib-lf)

    Fig 5: Locating Strut Assembly Nuts
    G12264514Courtesy of KIA MOTORS AMERICA, INC.