lemon-mirror:
Home >> Kia >> 2017 >> Sedona EX >> Repair and Diagnosis >> Suspension >> Wheel Alignment >> Front Suspension System And Front Alignment >> Sub Frame >> Repair Procedures >> Removal

Repair Procedures: Removal

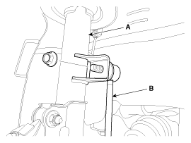
  1. Loosen the bolt (A) and then disconnect the universal joint assembly from the pinion of the steering gear box.

    Tightening torque: 

    32.4 ~ 37.3N.m (3.3 ~ 3.8kgf.m, 23.9 ~ 27.5lb-ft)

    CAUTION:
    • Keep the gear in the neutral range to prevent any damage on the clock spring inner cable while handling the steering wheel.
    • Do not reuse the bolt.
    Fig 1: Locating Sub Frame Bolt
    G12264549Courtesy of KIA MOTORS AMERICA, INC.
  2. Remove the power steering oil pump pressure hose (A).

    Tightening torque: 

    53.9 ~ 63.7 N.m (5.5 ~ 6.5 kgf.m, 39.8 ~ 47.0 lb-ft)

    Fig 2: Locating Power Steering Oil Pump Pressure Hose
    G12264550Courtesy of KIA MOTORS AMERICA, INC.
  3. Remove the front wheel and tire (A) from front hub.

    Tightening torque: 

    88.2 ~ 107.8 N.m (9.0 ~ 11.0 kgf.m, 65.0 ~ 79.5 lb-ft)

    CAUTION: Be careful not to damage the hub bolts when removing the front wheel and tire (A).
    Fig 3: Remove Front Wheel & Tire
    G12264551Courtesy of KIA MOTORS AMERICA, INC.
  4. Disconnect the stabilizer link (B) from the front strut assembly (A) after loosening the nut.

    Tightening torque: 

    98.1 ~ 117.7N.m (10.0 ~ 12.0kgf.m, 72.3 ~ 86.8lb-ft)

    Fig 4: Remove Stabilizer Link From Front Strut Assembly
    G12264552Courtesy of KIA MOTORS AMERICA, INC.
  5. Remove the split pin and castle nut to disconnect the tie-rod end (A) from the front knuckle.

    Tightening torque: 

    23.5 ~ 33.3N.m (2.4 ~ 3.4kgf.m, 17.4 ~ 24.6lb-ft)

    Fig 5: Locating Tie-Rod, Split Pin & Castle Nut
    G12264553Courtesy of KIA MOTORS AMERICA, INC.
  6. Loosen the bolt & nut and then remove the lower arm (A).

    Tightening torque: 

    98.1 ~ 117.7N.m (10.0 ~ 12.0kgf.m, 72.3 ~ 86.8lb-ft)

    Fig 6: Locating Lower Arm With Bolt & Nut
    G12264554Courtesy of KIA MOTORS AMERICA, INC.
  7. Remove the front lower arm from the front knuckle using the SST (0K545-A9100).
    1. After removing bolts from the front knuckle, install and tighten the sub body bolt (A).
      Fig 7: Locating Sub Body Bolt
      G12264555Courtesy of KIA MOTORS AMERICA, INC.
    2. Input the sub body (A) between the front knuckle and the sub body bolt.
    3. Tighten bolt (B) of the sub body bolt to broaden the gap of the front knuckle.
      Fig 8: Locating Sub Body Bolt
      G12264556Courtesy of KIA MOTORS AMERICA, INC.
    4. Install the safe wire (A).
      Fig 9: Locating Safe Wire
      G12264557Courtesy of KIA MOTORS AMERICA, INC.
      NOTE: Install a safe wire on the front strut to prevent dropping the SST and hurting technicians.
    5. Install the main body, between the front strut and the lower arm.
      Fig 10: Locating Main Body Between Front Strut & Lower Arm
      G12264558Courtesy of KIA MOTORS AMERICA, INC.
    6. To avoid the main body coming off, install a fixing clamp (A) beside the main body.
      Fig 11: Locating Fixing Clamp
      G12264559Courtesy of KIA MOTORS AMERICA, INC.
    7. After installing a fixing clamp, rotate the handle (B) clock wise till the clamp is fixed on a lower arm.
      Fig 12: Rotating Handle Clock Wise Till Clamp On Lower Arm
      G12264560Courtesy of KIA MOTORS AMERICA, INC.
    8. Tighten a main body bolt (A) of the slowly and remove the lower arm from the front knuckle.
      Fig 13: Locating Main Body Bolt
      G12264561Courtesy of KIA MOTORS AMERICA, INC.
  8. Remove the roll rod stopper bolt (A).

    Tightening torque: 

    107.9 ~ 127.5N.m (11.0 ~ 13.0kgf.m, 79.6 ~ 94.0lb-ft)

    CAUTION: Bolt (A) is not reusable as it is a special bolt.
    Fig 14: Locating Roll Rod Stopper Bolt
    G12264562Courtesy of KIA MOTORS AMERICA, INC.
  9. Disconnect the muffler rubber hanger (A).
    Fig 15: Locating Muffler Rubber Hanger
    G12264563Courtesy of KIA MOTORS AMERICA, INC.
  10. Loosening the bolt (A) and nut (B) and then remove the sub frame.

    Tightening torque: 

    156.9 ~ 176.5N.m (16.0 ~ 18.0kgf.m, 115.7 ~ 130.2lb-ft)

    Fig 16: Locating Sub Frame With Bolt & Nut
    G12264564Courtesy of KIA MOTORS AMERICA, INC.
  11. After loosening four bolts (A), remove the stabilizer bar (B).

    Tightening torque: 

    44.1 ~ 53.9 N.m (4.5 ~ 5.5 kgf.m, 32.5 ~ 39.8 lb-ft)

    Fig 17: Locating Stabilizer Bar With Bolts
    G12264565Courtesy of KIA MOTORS AMERICA, INC.
  12. After loosening the bolt (A) and nut (B), remove the heat protector.

    Tightening torque: 

    6.9 ~ 10.8 N.m (0.7 ~ 1.1 kgf.m, 5.1 ~ 8.0 lb-ft)

    Fig 18: Locating Heat Protector With Bolt & Nut
    G12264566Courtesy of KIA MOTORS AMERICA, INC.
  13. After loosening the bolt, remove the steering gear box (A).

    Tightening torque: 

    88.3 ~ 107.9 N.m (9.0 ~ 11.0 kgf.m, 65.1 ~ 79.6 lb-ft)

    Fig 19: Locating Steering Gear Box With Bolts
    G12264567Courtesy of KIA MOTORS AMERICA, INC.
  14. After loosening the bolt, remove the roll rod stopper (A).

    Tightening torque: 

    49.0 ~ 63.7N.m (5.0 ~ 6.5kgf.m, 36.2 ~ 47.0lb-ft)

    Fig 20: Locating Roll Rod Stopper With Bolts
    G12264568Courtesy of KIA MOTORS AMERICA, INC.
  15. Install in the reverse order of removal.
  16. Check the front alignment.

    (Refer to Front Suspension System - "FRONT ALIGNMENT ")