lemon-mirror:
Home >> Kia >> 2017 >> Sorento L >> Repair and Diagnosis >> Engine Performance >> Engine Control Systems >> Engine Control System - 2.4L >> Canister Close Valve (CCV) >> Repair Procedures >> Removal

Repair Procedures: Removal

  1. Turn the ignition switch OFF and disconnect the battery negative (-) terminal.
  2. Lift the vehicle.
  3. Disconnect the canister close valve connector (A).
  4. Disconnect the ventilation tube quick-connector (B) from the fuel tank air filter and canister close valve.
    Fig 1: Disconnecting Canister Close Valve Connector
    G12180309Courtesy of KIA MOTORS AMERICA, INC.
  5. Disconnect the vapor tube quick-connector (A).
  6. Remove the canister assembly bracket (D) after removing the mounting bolts (B) and nut (C).
    Fig 2: Disconnecting Vapor Tube Quick-Connector
    G12180310Courtesy of KIA MOTORS AMERICA, INC.
  7. Disconnect the CCV Connector (A).
    Fig 3: Disconnecting CCV Connector
    G12180311Courtesy of KIA MOTORS AMERICA, INC.
  8. Remove the fuel tank air filter & canister close valve assembly (A) after rotating it in the direction of the arrow in the figure below.
    Fig 4: Locating Fuel Tank Air Filter & Canister Close Valve Assembly (1 Of 2)
    G12180312Courtesy of KIA MOTORS AMERICA, INC.
    Fig 5: Locating Fuel Tank Air Filter & Canister Close Valve Assembly (2 Of 2)
    G12180313Courtesy of KIA MOTORS AMERICA, INC.
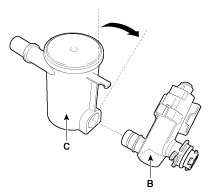
  9. Release the lever (A), and then separate the canister close valve (B) from the fuel tank air filter (C) after rotating it in the direction of the arrow in the figure below.
    Fig 6: Releasing Lever
    G12180314Courtesy of KIA MOTORS AMERICA, INC.
    Fig 7: Rotating Canister Close Valve From Fuel Tank Air Filter
    G12180315Courtesy of KIA MOTORS AMERICA, INC.