lemon-mirror:
Home >> Kia >> 2017 >> Soul ! >> Repair and Diagnosis >> Body & Frame >> Door Locks >> Keyless Entry >> Transmitter >> Repair Procedures >> Inspection >> Notes

Repair Procedures: Inspection: Notes

  1. Check that the red light flickers when the door lock or unlock button is pressed on the transmitter.
  2. Remove the battery (A) and check voltage if the red light doesn't flicker.

    Standard Voltage:  3V

    Fig 1: Checking Red Light Flickers Door Lock Or Unlock Button On Transmitter
    G12235569Courtesy of KIA MOTORS AMERICA, INC.
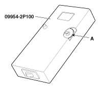
  3. Insert the battery (A) into the tester (09954-2P100).
    Fig 2: Inserting Battery Into Tester (09954-2P100)
    G12235570Courtesy of KIA MOTORS AMERICA, INC.
  4. Push the test button and If "0.00" is displayed on screen, it means that the battery voltage is 2V or less.
  5. If "L" is displayed on screen, it means that the battery is low power and it needs to replace.
  6. To prevent the discharge of electricity, turn the tester power off.
  7. Replace the transmitter battery with a new one, if voltage is low power then try to lock and unlock the doors with the transmitter by pressing the lock or unlock button five or six times.
  8. If the doors lock and unlock, the transmitter is OK, but if the doors don't lock and unlock, register the transmitter code, then try to lock and unlock the doors.
  9. If the doors lock and unlock, the transmitter is OK, but if the doors don't lock and unlock, replace the transmitter.
    WARNING: An inappropriately disposed battery can be harmful to the environment and human health.
    Dispose the battery according to your local law(s) or regulation.