lemon-mirror:
Home >> Kia >> 2018 >> Sorento L >> Repair and Diagnosis >> Engine Performance >> Ignition System >> Ignition Switch Assembly >> Repair Procedures >> Inspection

Repair Procedures: Inspection

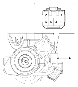
  1. Disconnect the ignition switch connector (B) and key warning switch connector (A) from under the steering column.
    Fig 1: Locating Key Warning Switch Connector & Terminals
    G12173749Courtesy of KIA MOTORS AMERICA, INC.
    Fig 2: Locating Ignition Switch Connector & Terminals
    G12173750Courtesy of KIA MOTORS AMERICA, INC.
  2. Check for continuity between the terminals.
  3. If continuity is not as specified, replace the switch.
    Fig 3: Ignition Switch Connector Terminals Continuity Chart
    G12173751Courtesy of KIA MOTORS AMERICA, INC.