lemon-mirror:
Home >> Kia >> 2019 >> Forte EX >> Repair and Diagnosis >> Suspension >> Wheel Alignment >> Front Suspension System & Alignment >> Front Strut Assembly >> Repair Procedures >> Disposal

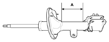
Repair Procedures: Disposal

  1. Fully extend the piston rod.
  2. Drill a hole on the (A) section to remove gas from the cylinder.
    G12833001Courtesy of KIA MOTORS AMERICA, INC.
    CAUTION:
    • The gas coming out is harmless, but be careful of chips that may fly when drilling.
    • Be sure to wear safety goggles or eye protection when performing this task.