lemon-mirror:
Home >> Kia >> 2019 >> Soul EV Base >> Repair and Diagnosis >> Body & Frame >> Door Locks >> Keyless Entry >> Repair Procedures >> Inspection >> Front Door Lock Module Inspection

Front Door Lock Module Inspection

  1. Remove the front door trim.

    (Refer to "FRONT DOOR TRIM ")

  2. Remove the front door module.

    (Refer to "FRONT DOOR MODULE ")

  3. Disconnect the connectors from the actuator.
    G12821150Courtesy of KIA MOTORS AMERICA, INC.
  4. Check actuator operation by connecting power and ground according to the table. To prevent damage to the actuator, apply battery voltage only momentarily.
    G12821151Courtesy of KIA MOTORS AMERICA, INC.

    [Central Lock] 

    G12821152Courtesy of KIA MOTORS AMERICA, INC.
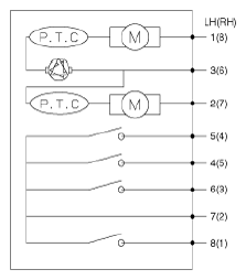
  5. Check for continuity between the terminals in each switch position according to the table.
G12821153Courtesy of KIA MOTORS AMERICA, INC.