lemon-mirror:
Home >> Kia >> 2020 >> K900 >> Repair and Diagnosis >> Engine Performance >> Engine Control Systems >> Idle Stop & Go (ISG) System >> Starter >> Repair Procedures >> Disassembly

Repair Procedures: Disassembly

NON-ISG Type Only 

  1. Disconnect the M-terminal (A) on the starter solenoid assembly.
    G13143459Courtesy of KIA MOTORS AMERICA, INC.
  2. After loosening the screws (A), detach the starter solenoid assembly (B).
    G13143460Courtesy of KIA MOTORS AMERICA, INC.
  3. Loosen the through bolts (A).
    G13143461Courtesy of KIA MOTORS AMERICA, INC.
  4. Remove the brush holder assembly (A), rear bracket assembly (B) after loosening the mounting screws.
  5. Remove the armature assembly (C) and yolk assembly (D).
    G13143462Courtesy of KIA MOTORS AMERICA, INC.
  6. Remove the shield (A).
    G13143463Courtesy of KIA MOTORS AMERICA, INC.
  7. Remove the lever packing (A) and the planet gear (B).
    G13143464Courtesy of KIA MOTORS AMERICA, INC.
  8. Remove the clutch set assembly (A) and lever (B).
    G13143465Courtesy of KIA MOTORS AMERICA, INC.
    NOTE: Beware of the direction of the lever (A).
    G13143466Courtesy of KIA MOTORS AMERICA, INC.
  9. Press the stopper (A) using a socket (B).
    G13143467Courtesy of KIA MOTORS AMERICA, INC.
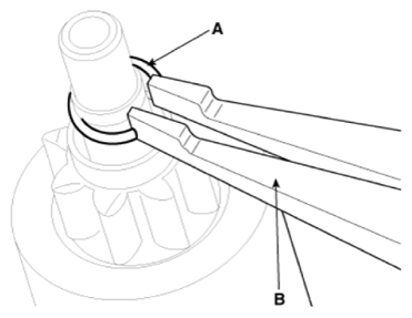
  10. Remove the stop ring (A) using the stop ring pliers (B).
    G13143468Courtesy of KIA MOTORS AMERICA, INC.
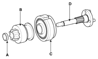
  11. Remove the stopper (A), overrunning clutch (B), internal gear (C) and planet shaft (D).
G13143469Courtesy of KIA MOTORS AMERICA, INC.
NOTE: Using a suitable pulling tool (A), pull the overrunning clutch stop ring (B) over the stopper (C).
G13143470Courtesy of KIA MOTORS AMERICA, INC.