lemon-mirror:
Home >> Kia >> 2020 >> Optima Hybrid EX >> Repair and Diagnosis >> Engine Performance >> Engine Control Systems >> Engine Control System (HEV) >> Injector >> Repair Procedures >> Installation

Repair Procedures: Installation

G13388106Courtesy of KIA MOTORS AMERICA, INC.
CAUTION:
  • Do not reuse the used injector fixing clip.
CAUTION:
  • Install the component with the specified torques.
  • Note that internal damage may occur when the component is dropped. If the component has been dropped, inspect before installing.
CAUTION:
  • Apply engine oil to the injector O-ring.
  • Do not reuse the used injector O-ring.
CAUTION:
  • Do not reuse the used bolt.
CAUTION:
  • When inserting the injector, be careful not to damage the injector tip.
  • Do not reuse the high pressure fuel pipe.
CAUTION:
  • Do not reuse the support disc.
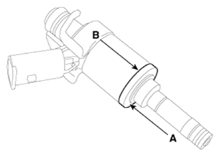
  • Do not reuse the injector rubber washer.
  • When replacing the rubber washer, the steal plate (A) part should be faced the cylinder installation part and the rubber plate (B) part should be faced the injector body part.
G13388107Courtesy of KIA MOTORS AMERICA, INC.
CAUTION:
  • Do not reuse the combustion seal.
  1. Install in the reverse order of removal.