lemon-mirror:
Home >> Kia >> 2020 >> Sorento L >> Repair and Diagnosis >> Body & Frame >> Ignition Switch/Steering Lock >> Ignition Switch Assembly >> Repair Procedures >> Inspection

Repair Procedures: Inspection

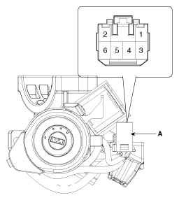
  1. Disconnect the ignition switch connector (B) and key warning switch connector (A) from under the steering column.
    G12883986Courtesy of KIA MOTORS AMERICA, INC.
    G12883987Courtesy of KIA MOTORS AMERICA, INC.
  2. Check for continuity between the terminals.
  3. If continuity is not as specified, replace the switch.
G12883988Courtesy of KIA MOTORS AMERICA, INC.