lemon-mirror:
Home >> Kia >> 2021 >> Telluride EX, FWD >> Repair and Diagnosis >> Engine Performance >> Engine Control Systems >> Engine Control/Fuel System - General Information >> Troubleshooting >> Basic Troubleshooting >> Connector Inspection Procedure

Connector Inspection Procedure

  1. Handling of Connector
    1. Turn on all electrical systems to simulate an excessive electrical load (Radios, fans, lights, rear window defogger, etc.).
      G13309959Courtesy of KIA MOTORS AMERICA, INC.
    2. When removing the connector with a latch, press or pull locking lever.
      G13309960Courtesy of KIA MOTORS AMERICA, INC.
    3. Listen for a click when locking connectors. This sound indicates that they are securely locked.
      G13309961Courtesy of KIA MOTORS AMERICA, INC.
    4. When a tester is used to check for continuity, or to measure voltage, always insert tester probe from wire harness side.
      G13309962Courtesy of KIA MOTORS AMERICA, INC.
    5. Check waterproof connector terminals from the connector side. Waterproof connectors cannot be accessed from harness side.
    G13309963Courtesy of KIA MOTORS AMERICA, INC.
    NOTE:
    • Use a fine wire to prevent damaging the terminal.
    • Do not damage the terminal when inserting the tester lead.
  2. Checking Point for Connector
    1. While the connector is connected:

      Hold the connector, and check connecting condition and locking efficiency.

    2. When the connector is disconnected:

      Check for missing terminal, crimped terminal or broken core wire by lightly pulling the wire harness.

      Visually check for rust, contamination, deformation and bending.

    3. Check terminal tightening condition:

      Insert a spare male terminal into a female terminal, and then check terminal tightening conditions.

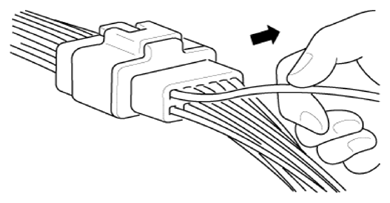
    4. Pull lightly on individual wires to ensure that each wire is secured in the terminal.
    G13309964Courtesy of KIA MOTORS AMERICA, INC.
  3. Connector Terminal Repairing Method
    1. Clean the contact points using air gun and/or shop rag.
      NOTE: Never use sand paper when polishing the contact points, otherwise the contact point may be damaged.
    2. In case of abnormal contact pressure, replace the female terminal.