lemon-mirror:
Home >> Land Rover >> 1990 >> Range Rover Base >> Repair and Diagnosis >> Electrical >> Starters >> Testing >> Armature

Repair and Diagnosis: Electrical: Starters: Testing: Armature

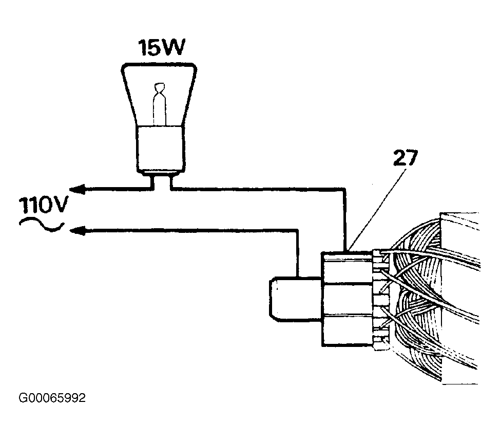
Check the armature insulation using suitable test equipment. Connect the tester between any one commutator segment and the shaft. The method illustrated uses a 110V, 15W test lamp. If the lamp illuminates armature is faulty, and a replacement component is required.

If necessary, commutator may be machined, providing a finished surface can be obtained without reducing the diameter below 28.8mm (1.13"), otherwise a new commutator must be fitted. Finish surface with fine emery cloth. Do not undercut the insulation slots.

Fig 1: Armature Testing Diagram
G00065992Courtesy of LAND ROVER NORTH AMERICA, INC.