lemon-mirror:
Home >> Land Rover >> 2003 >> Range Rover >> Repair and Diagnosis >> Engine Performance >> System >> Engine Controls - Self-Diagnostics - Without Codes >> On Board Monitoring >> Fuel System Monitoring >> Fuel System Monitoring Structure

Fuel System Monitoring Structure

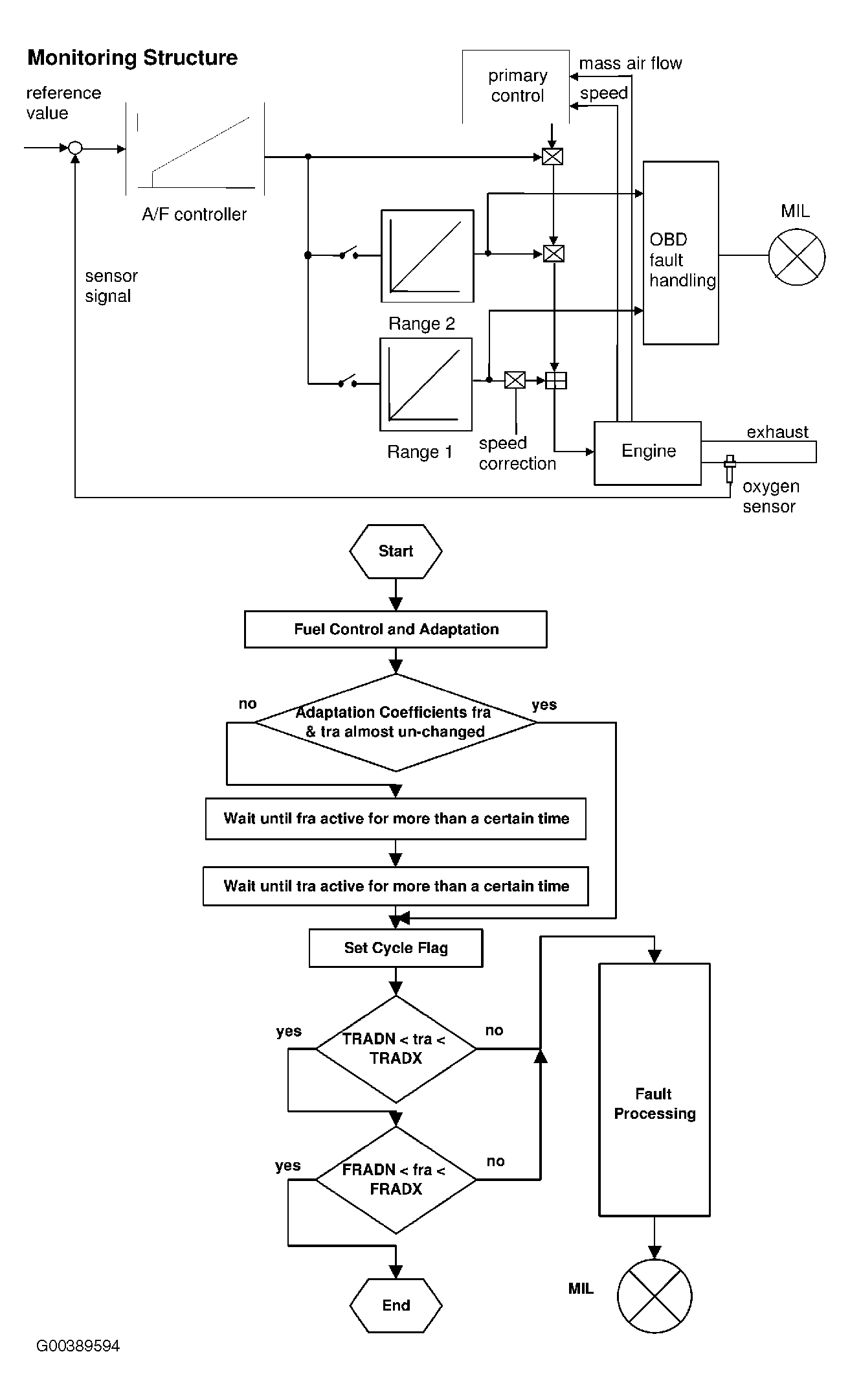
For fuel system monitoring structure and flow chart, see Fig 1 .

Fig 1: Fuel System Monitoring Structure & Flow Chart
G00389594Courtesy of LAND ROVER NORTH AMERICA, INC.