lemon-mirror:
Home >> Lexus >> 1990 >> LS 400 >> Repair and Diagnosis >> Electrical >> Gauges >> Instrument Panels >> Component Testing >> Speed Sensor

Speed Sensor

NOTE: For more information on testing, see SPEED SENSOR  under CIRCUIT TESTS.
  1. Remove speed sensor from transmission tailshaft. See SPEED SENSOR  under REMOVAL & INSTALLATION.
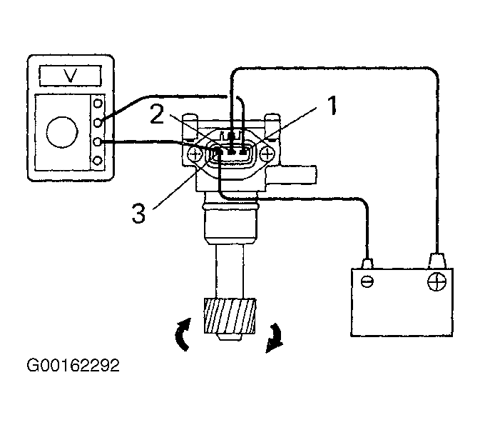
  2. Connect the positive (+) lead from battery to terminal 2 and negative (-) lead to terminal 3. See Fig 1.
  3. Connect the positive (+) lead from tester to terminal 1 and negative (-) lead to terminal 3. See Fig 1.
  4. Revolve shaft.
  5. NOTE: The voltage change should be 20 times per each revolution of the speed sensor shaft. If operation is not as specified, replace sensor.
  6. Check that there is voltage change from approximately 0 volts to 11 volts or more between terminal 1 and 3. If operation is not as specified, replace sensor.
Fig 1: Testing Speed Sensor Operation
G00162292Courtesy of © TOYOTA, LICENSE AGREEMENT TMS1002