lemon-mirror:
Home >> Lexus >> 1994 >> LS 400 >> Repair and Diagnosis >> Electrical >> Gauges >> Instrument Panel >> System Testing >> Engine Coolant Temperature Gauge System Test

Engine Coolant Temperature Gauge System Test

NOTE: If needle stays in cold position, circuit between instrument cluster and sending unit may be open. If needle stays in hot position, circuit may be shorted to ground.
  1. Check for continuity between hex portion of temperature gauge sending unit and engine block. If there is no continuity, repair poor ground between sending unit and engine block. If there is continuity, disconnect electrical connector from sending unit.
  2. Turn ignition on. Gauge should indicate cold. Connect a 3.4-watt light bulb between chassis ground and sending unit connector terminal. Gauge should indicate hot and light should come on. If gauge indicates as specified, replace sending unit.
  3. If gauge does not indicate as specified, turn ignition off. Disconnect connector "B" from instrument cluster. See Figure. Check circuit between sending unit and terminal No. 8 of disconnected instrument cluster connector. See Figure or Figure.
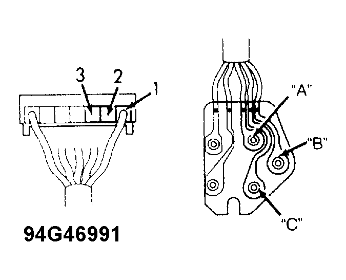
  4. If circuit is okay, check gauge resistance. See ENGINE COOLANT TEMPERATURE GAUGE RESISTANCE TEST  under COMPONENT TESTING. If gauge resistance is okay, remove engine coolant temperature gauge circuit plate. See Figure. Check for continuity between the following terminals of circuit plate. See Fig 1. If there is no continuity, replace circuit plate. If there is continuity, replace power source unit. See Figure.
    • "A" and 3
    • "B" and 1
    • "C" and 2
Fig 1: Terminal Of Engine Coolant Temperature Gauge Circuit Plate ID
G94G46991Courtesy of © TOYOTA, LICENSE AGREEMENT TMS1002