lemon-mirror:
Home >> Lexus >> 1997 >> GS 300 >> Repair and Diagnosis >> Electrical >> Starter >> On-Vehicle Testing >> Starter Relay Test

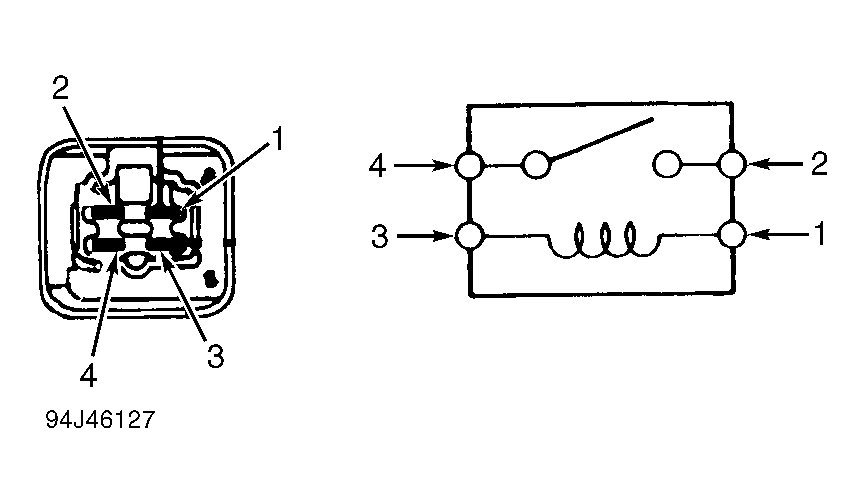
Starter Relay Test

Remove starter relay. See ELECTRICAL COMPONENT LOCATIONS  under DESCRIPTION & OPERATION. Starter relay is okay if it tests as follows:

Fig 1: Identifying Starter Relay Terminals
G94J46127Courtesy of © TOYOTA, LICENSE AGREEMENT TMS1002