lemon-mirror:
Home >> Lexus >> 1997 >> SC 400 >> Repair and Diagnosis >> Electrical >> Gauges >> Instrument Panel >> Component Testing >> Rheostat Light Control

Rheostat Light Control

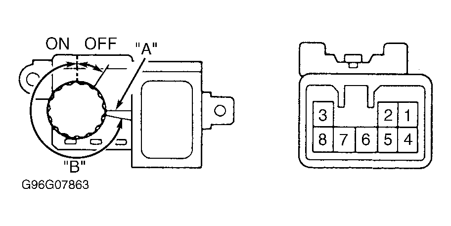
NOTE: Rheostat and rheostat light control are separate components. Rheostat is an electronic module that receives signals from rheostat light control (control wheel).

Remove instrument cluster. Replace rheostat light control if it does not test as follows.

Fig 1: Terminals Of Rheostat Volume Control Id
G96G07863Courtesy of © TOYOTA, LICENSE AGREEMENT TMS1002