lemon-mirror:
Home >> Lexus >> 1998 >> ES 300 >> Repair and Diagnosis >> Electrical >> Gauges >> Instrument Panel >> Component Tests >> Bulb Check Relay

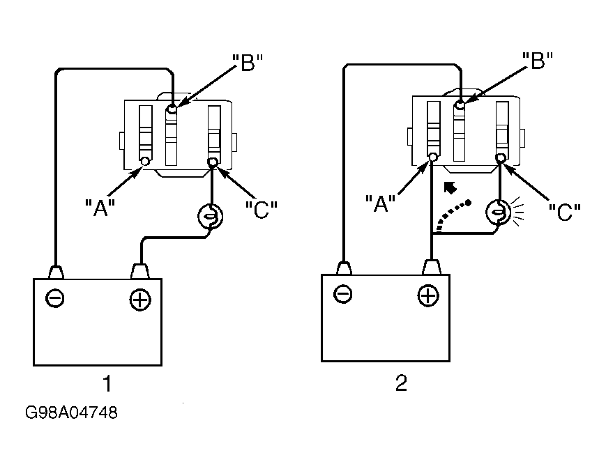
Bulb Check Relay

  1. Remove bulb check relay from instrument cluster. Connect battery positive lead to relay terminal "C" through a 1.4-watt test bulb. See Fig 1. Connect battery negative lead to relay terminal "B". Test bulb should not light.
  2. Connect another battery positive lead to terminal "A". Test bulb connected to terminal "C" should light. If relay does not operate as specified, replace relay.
Fig 1: Testing Bulb Check Relay
G98A04748Courtesy of © TOYOTA, LICENSE AGREEMENT TMS1002